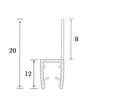
PVC Seal Glass To Floor, S-5702, 2,5 Mtr, F/8mm Glass ,With 8mm Soft Fin

Varenummer 15.22.266-1