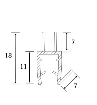
PVC Seal Glass To Floor, S-5707, 2,5 Mtr, F/6mm Glass

Varenummer 15.22.290-1