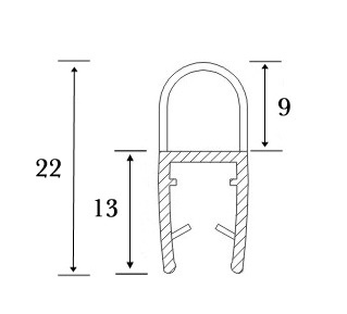
PVC Seal Glass To Floor, S-5708, 4,0 Mtr, F/12mm Glass ,With 9mm Lip

Varenummer 15.22.298-9