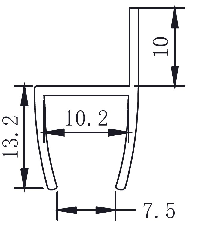
PVC Seal Glass To Floor, S-5723, 3,0 Mtr, F/10mm Glass W/10 mm Fin, Packed in Export Carton

Varenummer 15.22.359-0