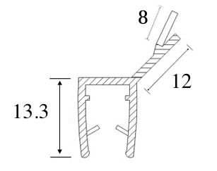
PVC Seal Glass To Glass 135DG, S-5703, 2,5 Mtr, F/10mm Glass

Varenummer 15.22.272-1